Assembly Instructions
Important before assembly:
Read these instructions carefully before assembling or using the product.
- Please check the contents of the boxes before attempting to assemble this The instructions will have a checklist of parts and fittings.
- It would be sensible to lay a rug or a carpet on the floor where you intend to assemble the product, to avoid scratches and damaging the product or the floor.
- Assemble the product as close to its intended final location/room as
DO NOT use any power tools as this may damage the frame.
Health & Safety:
- This product or some parts of this product will be Please use an assistant when lifting.
- DO NOT jump on the product or any of its
- DO NOT use this product if any parts are missing, damaged or
- DO NOT use this product unless all fixings are
- Please keep small parts out of reach of
- Always use on a level, even

Divan Beds Assembly
For your convenience we have included detailed instructions for assembly. Please click below and follow the instructions and if you have any questions, please feel free to get in touch and one of our friendly staff will be happy to help.

Ottoman Beds Assembly
For your convenience we have included detailed instructions for assembly. Please click below and follow the instructions and if you have any questions, please feel free to get in touch and one of our friendly staff will be happy to help.
For Single Divan Bases (2ft6, 3ft)
Parts & Fittings Check List
Instructions:
- Remove the outer packaging and cardboard corner protectors.
- Flip the divan base on its top so that the underside is accessible.
- Locate the pre-drilled holes at each corner of the base.
- Securely insert the four gliders into the bottom of the base.
- (Please Note: This may require the use of a blunt tool, such as a rubber mallet NOT METAL HAMMER)
- Carefully flip the base so that it is now resting atop the gliders, firmly pressing down on each of the corners of the base to ensure that it is stable.
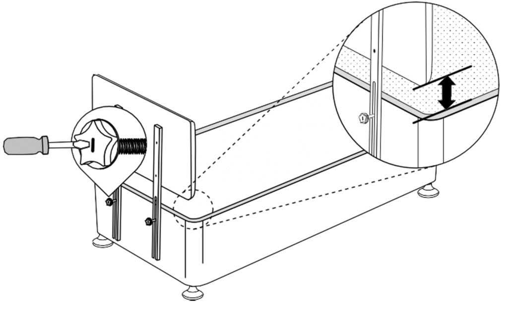
If you have a headboard to attach (or have an existing one)…
- Locate the headboard stickers on either end of the base.
- Decide which end the headboard will attach to and pierce the centre of the stickers.
- (Please Note: This action is irreversible, so please be sure of which end the headboard will attach. DO NOT PIERCE BOTH SIDES!)
- Press both headboard screws into the pierced holes until meeting resistance. Proceed to screw the headboard screwsclockwise, leaving enough space for the headboard struts to fit into place.
for the headboard struts fixing, please follow the instructions that came separately with the headboard
- Drop the headboard struts down over the headboard screws. Once the headboard is at the desired height tighten the headboard screws until the headboard is locked in place.
- Be sure to adjust the height of the headboard to allow for the depth of the mattress.
- ย
- For Divan Beds with drawers
The drawers are already installed within the Divan Bed base. Strips of fabric keep the drawers in place during transit and will need to be removed to allow access to the drawers. Remove these strips of fabric via pulling, tugging or cutting them off.
Please Note: The strips of fabric are secured via staples, so please take care when removing them
For Double Divan Bases (4ft, 4ft6, 5ft and 6ft)
Parts & Fittings Check List
Instructions:
- Remove the outer packaging and cardboard corner protectors.
- Locate which corners are straight and which are curved. Straight corners indicate where both of the bases will
- Flip both of the divan bases on their tops so that the undersides are accessible.
- Locate the four pre-drilled holes at each corner of the bases.
- Securely insert the eight (8) gliders into the bottom of the bases, each base requires four (4).
- Please Note: This may require the use of a blunt tool, such as a rubber mallet. DO NOT use Metal Hammer.
- Carefully flip the bases so that they are now resting atop the gliders, firmly pressing down on each corner of the bases to ensure that they are stable.
If you have the Link Bars:
- Locate the link bar holes where the two straight sides of the bases meet. They should be located near the top of the bases.
- (You may need to feel with your finger, as the holes will be hidden under the fabric, and may not be marked).
- Place the link bar along these holes and screw in the It is advised that the right hand side of the link bar (the side with a smaller hole) is screwed in first so that the larger hole on the left can be adjusted if required.
- Complete screwing the nuts into both sides of the
If you have U-Clip:
- Put the both bases together to ensure the square and sides are facing each other and round edges are on the opposite ends.
- Flip the base on the floor. Facing down.
- Push the U-Clips on the two sides facing each other on both bases from the bottom towards top. (might have to use a bit of force)
- There are no holes for the U-Clips, it gets push in the Black Dost Cover underneath the base to allow you to affix them anywhere under the base.
- Once attached, Carefully flip the bases back again right way up.
If you have a headboard to attach (or have an existing one)…
- Locate the headboard stickers on either end of the base.
- Decide which end the headboard will attach to and pierce the centre of the stickers.
- (Please Note: This action is irreversible, so please be sure of which end the headboard will attach. DO NOT PIERCE BOTH SIDES!)
- Press both headboard screws into the pierced holes until meeting resistance. Proceed to screw the headboard screws clockwise, leaving enough space for the headboard struts to fit into place.
- (for the headboard struts fixing, please follow the instructions that came separately with the headboard)
- Drop the headboard struts down over the headboard screws. Once the headboard is at the desired height tighten the
- Be sure to adjust the height of the headboard to allow for the depth of the mattress.
- For Divan Beds with drawers
The drawers are already installed within the Divan Bed base. Strips of fabric keep the drawers in place during transit and will need to be removed to allow access to the drawers. Remove these strips of fabric via pulling, tugging or cutting them off.
Please Note: The strips of fabric are secured via staples, so please take care when removing them
Important Information for Ottoman and other Gas Lift Beds
Very Important Note:
The bed base is in the upright position when ๏ฌrst assembled as the gas lifts are fully extended during shipment for safety. After assembly a ๏ฌrm downward push will be required to overcome any resisitance in the gas lifts as these may initially stick. We suggest placing a mattress on top of the bed base to aide this and also test the operation of your new lift up bed by lifting and pushing down the bed base a few times to allow the lfting mechanism to bed in.
The lift mechanism provides assistance with the lift of the mattress ๏ฌtted to the base. It does not lift the mattress for you. The system has been designed to effectively lift the base system ๏ฌtted with a variety of mattress weights and combinations of depths. Depending on the combination of the mattress weight and depth determines the degree of assistance provided by the mechanism.
Following the installation of the mechanism lift, pull the base up and down a few times to free off the system. The gas cylinders ๏ฌtted to the system may be stiff when ๏ฌrst used or if the system has not been operated for a period of time.
Use the strap handles to lift up the mattress base using two hands. Pull the mattress base down using two hands equally spaced from the centre of the mattress base. DO NOT pull down on one side of the base only as this is likely to damage the base system with potential failure of the mattress base system and lift mechanism.
Do NOT operate the lift up mechanism without the mattress placed on the base.
Caution:
- Do NOT allow children to operate the lift mechanism.
- Do NOT allow children near the lift base when operating the mechanism.
- DO NOT allow children in the area of the internal storage base.
- Keep hands clear of the mechanism when operating the base system.
- Do NOT stand inside the bed or the internal storage base.
- Do NOT overload the internal storage base.
Instructions:
- Remove the outer packaging and cardboard corner protectors.
- Flip the divan base on its top so that the underside is accessible.
- Locate the pre-drilled holes at each corner of the base.
- Securely, but gently, insert the four gliders into the bottom of the base.
- Please Note: This may require the use of a blunt tool, such as a rubber mallet, DO NOT use Metal Hammer.
- Carefully flip the base so that it is now down on each of the corners of the base to ensure that it is stable.
For Single Bases:
- Unscrew the silver nut on the inside of the lid-bracket. Align the detached-end of the hydraulic-part, place the piston head to re-screw the nut through the hydraulic piston head and attach onto the lid-bracket.
- Repeat this for all hydraulic bars
For Double Bases:
STEP 1: Unscrew the silver nut on the inside of the lid-bracket. Align the detached-end of the hydraulic-part, place the piston head to re-screw the nut through the hydraulic piston head and attach onto the lid-bracket. Repeat this for all hydraulic bars.
STEP 2: Join both halves of the base together using the two link clips provided. Ensure the square edges are adjacent. Space out each clip along the base.
STEP 3: Join the two lid-frames together with the bolt provided under the lid.
If you have a headboard to attach (or have an existing one)…
- Locate the headboard stickers on the end of the base.
IMPORTANT: For Double or King bases, NOT ALL the stickers will be pierced, but only those that are required, aligning with the headboard struts on both bases.
- Pierce the centre of the stickers as required.
Please Note: This action is irreversible, so please be sure before piercing.
- Press the headboard screws into the pierced holes until meeting resistance. Proceed to screw the headboard screws clockwise, leaving enough space for the headboard struts to fit into place.
For the headboard struts fixing, please follow the instructions that came separately with the headboard.
- Drop the headboard struts down over the headboard screws.
- Once the headboard is at the desired height tighten the
headboard screws until the headboard is locked in place.
- Be sure to adjust the height of the headboard to allow for the depth of the mattress.



